Sunday, February 15, 2026
Home » Το iPad-ρολό της Apple επιστρέφει… σε πατέντα!

Το iPad-ρολό της Apple επιστρέφει… σε πατέντα!

0 comments

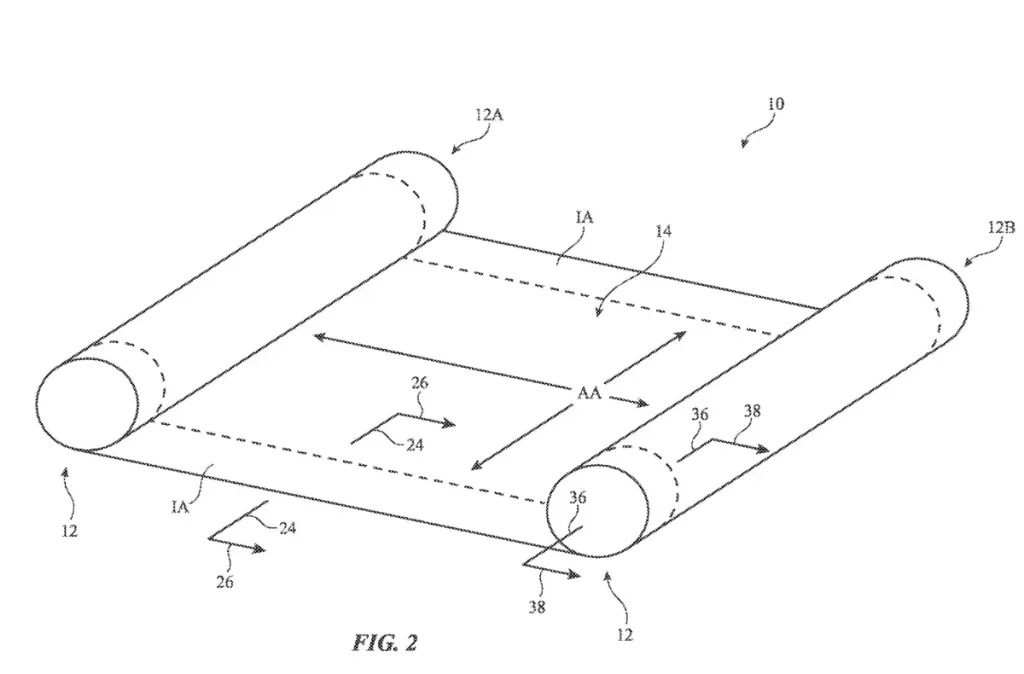
Η Apple δεν έχει εγκαταλείψει την ιδέα του «rollable», δηλαδή μιας συσκευής με οθόνη που ξεδιπλώνεται σαν ρολό. Μια νέα πατέντα που ήρθε πρόσφατα στο φως, με τον τίτλο «Electronic Device With Flexible Display Structures», δείχνει ξεκάθαρα πως η εταιρεία συνεχίζει να δουλεύει πάνω στην τεχνολογία ευέλικτων οθονών.

Τι έιναι η rollable οθόνη;

Σε αντίθεση με τα σημερινά «foldables», όπως το Galaxy Z Flip ή το Pixel Fold που διπλώνουν στη μέση σαν βιβλίο, οι rollable οθόνες ξετυλίγονται σαν χαρτί και ξαναμαζεύονται όταν δεν τις χρειάζεσαι. Κάπως σαν να τραβάς ένα παλιό πάπυρο.

Η συγκεκριμένη ιδέα δεν είναι καινούρια για την Apple. Είναι η έκτη φορά που κατοχυρώνει παρόμοια πατέντα, με την πρώτη να χρονολογείται από το 2017! Με κάθε νέα εκδοχή, η εταιρεία βελτιώνει τις τεχνικές προδιαγραφές, δίνοντας έμφαση στη σταθερότητα, τη συμπαγή κατασκευή και την ανθεκτικότητα της οθόνης.

Χωρίς μεντεσέδες, χωρίς τσακίσματα – μόνο ρολάρισμα

Σύμφωνα με την πατέντα, η Apple φαντάζεται ένα iPad με την οθόνη να «ζει» μέσα σε ένα σταθερό περίβλημα, αλλά να μπορεί να τεντώνεται προς τα έξω με τη βοήθεια ειδικών κυλίνδρων. Η τεχνολογία αυτή περιλαμβάνει “deployment rollers” (κυλίνδρους ανάπτυξης) και “bistable support members” (εύκαμπτα αλλά σταθερά στηρίγματα) ώστε η οθόνη να παραμένει επίπεδη και λειτουργική σε κάθε φάση.

Και το πιο εντυπωσιακό; Η συσκευή θα μπορεί να δείχνει πληροφορίες ακόμα και όταν η οθόνη είναι μισομαζεμένη, χάρη σε διαφανή παράθυρα στο περίβλημα που λειτουργούν σαν «mini always-on displays».

Rollable για όλα τα γούστα

Η Apple φαίνεται να φαντάζεται το συγκεκριμένο design όχι μόνο για iPad ή iPhone, αλλά και για άλλα gadgets όπως γυαλιά επαυξημένης πραγματικότητας, έξυπνα ρολόγια ή ακόμα και wearable κοσμήματα.

Αυτό ευθυγραμμίζεται και με τις τάσεις της αγοράς: Samsung και Motorola έχουν ήδη παρουσιάσει πρωτότυπα κινητά με rollable οθόνες.

Από τη θεωρία στην πράξη;

Η νέα πατέντα δείχνει μια μετάβαση από τη θεωρία στην πράξη. Η Apple δεν εστιάζει πλέον μόνο στο «τι θα μπορούσε να γίνει», αλλά βάζει κάτω τις τεχνικές λεπτομέρειες: νέα υλικά για μείωση της φθοράς, μικρότερο μέγεθος συσκευής, πιο ομαλή ανάπτυξη της οθόνης.

Δεν είναι τυχαίο ότι αυτή η αναθέρμανση του ενδιαφέροντος για rollables έρχεται την ίδια στιγμή που οι φήμες για foldable iPhone επιστρέφουν, με πιθανή κυκλοφορία το 2026 ή αργότερα.

Φυσικά, μια πατέντα δεν σημαίνει και σίγουρη κυκλοφορία. Η Apple έχει δεκάδες σχέδια που δεν υλοποιούνται ποτέ. Αλλά το γεγονός ότι έχει καταθέσει την ίδια ιδέα έξι φορές, δείχνει πως την κρατάει ενεργή… και ίσως περιμένει απλώς τη σωστή στιγμή για να την ξεδιπλώσει. Κυριολεκτικά.

Διαβάστε επίσης: iPhone: Η λειτουργία δορυφορικών SMS έσωσε αναρριχητή που εγκλωβίστηκε στα 3.300 μέτρα

Αυτό το άρθρο αναδημοσιεύεται από το digitallife.com.cy

You may also like

This website uses cookies to improve your experience. We'll assume you're ok with this, but you can opt-out if you wish. Accept Read More